刚刚, 菜鸟无人车与九识智能合并! 车队规模全球第一

车东西
作者 | 颐圣
超2万台,全球最大规模的无人物流车队诞生了!
车东西1月29日消息,就在刚刚九识智能联合菜鸟无人车官宣,双方已达成无人车业务战略重组,菜鸟通过业务资产注入及现金投资等方式成为九识智能战略股东。

九识智能与菜鸟无人车签约
据了解,重组后的新主体不仅坐拥全球最大规模的Robovan(自动驾驶货运车)车队,更标志着行业分工从单点技术探索正式转向系统化的“场景+技术”产业协同。
同时,九识智能和菜鸟无人车也表示,在此次整合后,双方品牌均保持独立运营。
一、资本重组与双品牌战略 要做物流界的“丰田与雷克萨斯”
从本次整合的具体情况来看,资源的重新配置是重点。
菜鸟在重组后将发生角色转型,不再直接从事无人车的硬件研发与销售,而是回归场景方,利用其全球物流网络推动无人车的规模化应用。
在运营层面,九识智能获得了“菜鸟无人车”品牌授权,开启双品牌独立运营模式。
据九识联合创始人周清介绍,这种布局类比于车企中的“丰田与雷克萨斯”。

九识智能联合创始人周清
九识品牌将侧重于全场景智慧运力方案的输出,而“菜鸟无人车”则依托其物流科技基因,聚焦特定场景和KA客户,提供基于RoboVan的智能供应链深度服务。
双方将共享技术底盘与供应链体系,通过规模效应降低研发成本。
相较于仍处于强监管与技术长尾期的Robotaxi,同城无人货运因其低速、载货、城配属性,已率先跑通商业闭环。
目前,九识与菜鸟的联合车队规模已突破2万台,覆盖城市累计超过500个。
无人车九识智能联合创始人周清在日前媒体群访中表示,目前通过无人车的运用,客户的平均降本达到了传统模式的一半以上。
菜鸟无人车业务中心总经理李尚青表示,菜鸟有跨境的业务和全球本地业务,在全球本地化的业务中,也可以跟九识的RoboVan产品技术做到深度融合。

菜鸟无人车业务中心总经理李尚青
在人力红利递减、劳动力成本激增的背景下,这种成本优势已成为核心护城河。
周清提到,未来的市场格局将呈现极强的头部效应,配送场景越多,产品力就越强。
二、实现技术互补 深耕场景化运营
重组后,双方的技术图谱实现了互补,菜鸟无人车团队多年来在视觉语言模型(VLA)及世界模型领域占据技术高地,其日均处理的千万级包裹产生了全链路、全场景的高质量数据。
九识智能则拥有近亿公里级的真实公开道路数据,以及从2立方米到10立方米不同载重的L4级整车工程化能力。

九识智能无人车车型矩阵
随着菜鸟管理及技术负责人正式加入九识智能,双方将构建起从底层底盘研发、算法迭代到大规模运营的完整链条。
菜鸟集团CEO万霖表示,双方将保持紧密的生态伙伴关系。
九识智能CEO孔旗认为,这样的合作一方面是数据的结合,另一方面也是自动驾驶产业从“单点突破”迈向“系统集成”的里程碑。
从具体的应用场景来看,双方进行整合后,通过低成本无人配送,生鲜、药品“半日达”将成为常态,且利用夜间配送缓解城市交通压力。
此外,除城市快递外,新主体已实现乡、镇、县三级物流网络覆盖。
未来,基于通用无人驾驶底盘,业务还将延伸至环卫巡检、市政、农业等特种机器人领域。
三、无人配送业务火爆 九识智能已拿超5亿美元融资
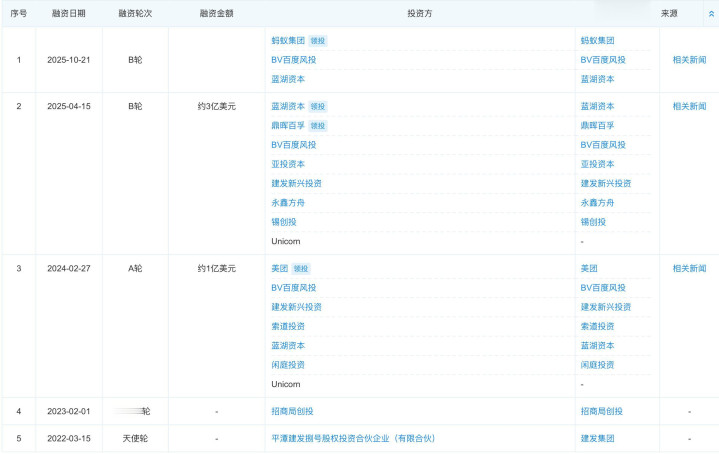
当下,无人配送业务火爆,此次合并的主体之一,九识智能也是拿下了多轮融资,目前已经进行至B轮。

九识智能历史融资信息(来源:企查查)
截至目前,九识智能B轮融资总额已达4亿美元(约合人民币28.48亿元),成为2025年度中国科技企业中最为重要的融资之一,同时也是全球L4级无人驾驶领域的重要融资事件。
从企查查查询到的公开信息显示,九识智能A轮+B轮目前已经累计融资5亿美元(约合人民币35.6亿元)。
结语:无人物流车玩家开始强强联合
站在智能网联产业高质量发展的分水岭,九识与菜鸟的整合,标志着无人物流车的发展已从单纯的技术竞争,演变为集规模、数据、生态于一体的系统化竞争。
通过各取所长的模式,一方面可以避免无效内卷,另一方面也可以在无人物流车的蓝海中快速抢占高地。
上一篇:乡村教师春天来了!教龄补贴按年递增,最高每月领1800元暖心福利
下一篇:没有了
